Bài 3 trang 37 Toán 12 tập 1 Chân trời sáng tạo Giải Toán 12 Chân trời sáng tạo Bài tập cuối chương 1
Bài 3 trang 37 SGK Toán 12
Toán 12 Bài 3 trang 37 tập 1 trong bài Bài tập cuối chương 1 SGK Toán 12 Chân trời sáng tạo được giải chi tiết giúp cho các em học sinh tham khảo, ôn tập, củng cố kỹ năng giải toán. Mời các em học sinh tham khảo.
Giải Bài 3 Toán 12 trang 37
Bài 3 trang 37 toán 12 tập 1: Cho hàm số
. Trong các khẳng định sau, khẳng định nào đúng?
A. Hàm số đạt cực tiểu tại x = 3, giá trị cực tiểu là y = 2.
B. Hàm số đạt cực tiểu tại x = 5, giá trị cực tiểu là y = 6.
C. Hàm số đạt cực tiểu tại x = 3, giá trị cực tiểu là y = 6.
D. Hàm số đạt cực tiểu tại x = 5, giá trị cực tiểu là y = 2.
Lời giải chi tiết:
Đáp án đúng: B
Xét hàm số, TXĐ: ![]()
Ta có: ![]()
y' = 0 ⇔ x = 5 hoặc x = 3
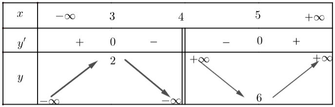
Lập bảng biến thiên:

=> y đạt cực tiểu tại x = 5, yCT = 6.
---> Câu hỏi cùng bài:
- Bài 4 trang 37 toán 12 tập 1: Đạo hàm của hàm số y = f(x) là hàm số có đồ thị
- Bài 5 trang 37 toán 12 tập 1: Giá trị nhỏ nhất của hàm số

- Bài 6 trang 37 toán 12 tập 1: Tiệm cận xiên của đồ thị hàm số

- Bài 7 trang 37 toán 12 tập 1: Tiệm cận đứng của đồ thị hàm số

-------> Bài tiếp theo: Giải Toán 12 Chân trời sáng tạo Bài 1: Vectơ và các phép toán trong không gian
- Lượt xem: 09
